Springfield, MO
417-603-0677
Toggle navigation
Home
Brands
Manufacturer Models
OEM Promotions
Triumph
Indian
Kawasaki
Inventory
All Inventory In Stock
New Inventory In Stock
Used Inventory
See Honda of the Ozarks Used Inventory
Featured Inventory
Value Your Trade-In
Request a Model
Schedule a Test Ride
Financing
Parts
Parts Department
Parts Finder
Service
Service Department
Warranty & Recall Look-Up
Service Specials
Financing
About
Our Dealership
Our Team
Reviews
Customer Survey
Newsletter Sign-Up
Employment
Events
Location & Hours
Contact
Springfield, MO
Search Inventory
Fiche | Parts Diagrams
2026 Kawasaki Motorcycles
Home
›
Parts
›
Parts Finder
Search by :
Part / Desc
VIN
Kawasaki
*Please enter at least 3 characters
SEARCH
Manufacturer
Kawasaki
Motorcycles
2026
KLX®230SM ABS (KLX232GTFNL)
VIEW WISH LIST
Select a Section
Show/Hide
Accessory(Carrier)
Accessory(Engine Guard)
Accessory(Frame Cover)
Accessory(Handle)
Accessory(Helmet Lock and USB)
Accessory(Rim)
Accessory(Seat)
Air Cleaner
Brake Pedal
Brake Piping
Cables
Camshaft(s)/Tensioner
Chassis Electrical Equipment
Clutch
Cowling
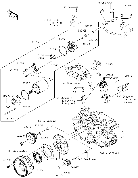
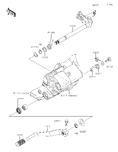
Crankcase
Crankshaft
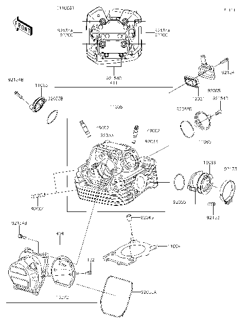
Cylinder Head
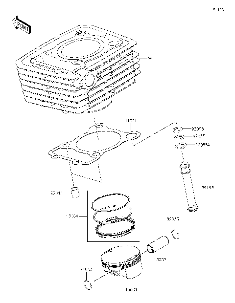
Cylinder/Piston(s)
Decals(Gray)
Decals(Green)
Engine Cover(s)
Engine Mount
Footrests
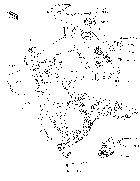
Frame
Frame Fittings
Front Brake
Front Fender(s)
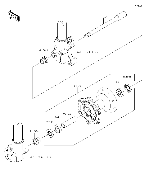
Front Fork
Front Hub
Front Master Cylinder
Fuel Evaporative System
Fuel Injection
Fuel Pump
Fuel Tank
Gear Change Drum/Shift Fork(s)
Gear Change Mechanism
Generator
Handlebar
Headlight(s)
Ignition Switch
Ignition System
Labels
Meter(s)
Muffler(s)
Oil Pump
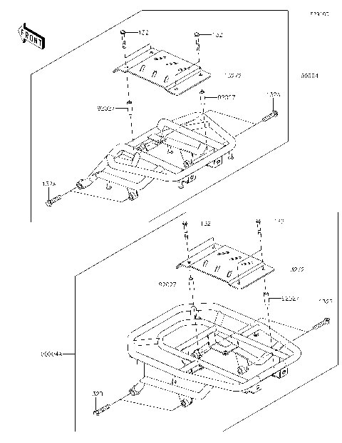
Owner's Tools
Rear Brake
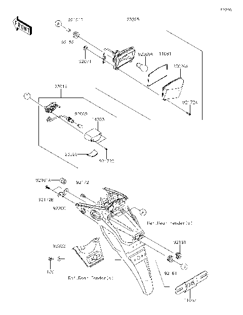
Rear Fender(s)
Rear Hub
Rear Master Cylinder
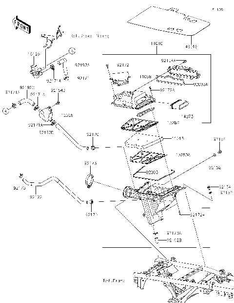
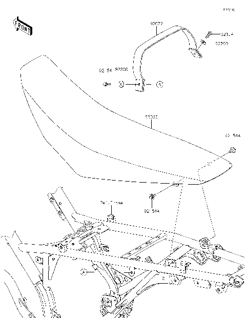
Seat
Side Covers/Chain Cover
Stand(s)
Starter Motor
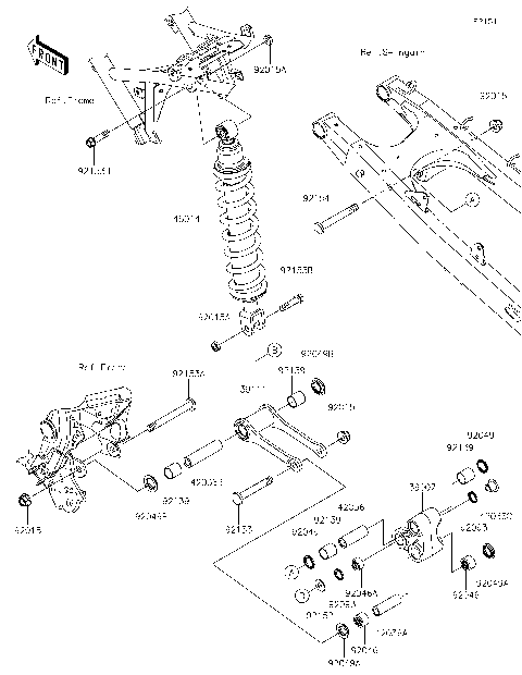
Suspension/Shock Absorber
Swingarm
Taillight(s)
Throttle
Transmission
Turn Signals
Valve(s)
Wheels/Tires
Accessory(Carrier)
Accessory(Engine Guard)
Accessory(Frame Cover)
Accessory(Handle)
Accessory(Helmet Lock and USB)
Accessory(Rim)
Accessory(Seat)
Air Cleaner
Brake Pedal
Brake Piping
Cables
Camshaft(s)/Tensioner
Chassis Electrical Equipment
Clutch
Cowling
Crankcase
Crankshaft
Cylinder Head
Cylinder/Piston(s)
Decals(Gray)
Decals(Green)
Engine Cover(s)
Engine Mount
Footrests
Frame
Frame Fittings
Front Brake
Front Fender(s)
Front Fork
Front Hub
Front Master Cylinder
Fuel Evaporative System
Fuel Injection
Fuel Pump
Fuel Tank
Gear Change Drum/Shift Fork(s)
Gear Change Mechanism
Generator
Handlebar
Headlight(s)
Ignition Switch
Ignition System
Labels
Meter(s)
Muffler(s)
Oil Pump
Owner's Tools
Rear Brake
Rear Fender(s)
Rear Hub
Rear Master Cylinder
Seat
Side Covers/Chain Cover
Stand(s)
Starter Motor
Suspension/Shock Absorber
Swingarm
Taillight(s)
Throttle
Transmission
Turn Signals
Valve(s)
Wheels/Tires
VIEW WISH LIST