Springfield, MO
417-603-0677
Toggle navigation
Home
Brands
Manufacturer Models
OEM Promotions
Triumph
Indian
Kawasaki
Inventory
All Inventory In Stock
New Inventory In Stock
Used Inventory
See Honda of the Ozarks Used Inventory
Featured Inventory
Value Your Trade-In
Request a Model
Schedule a Test Ride
Financing
Parts
Parts Department
Parts Finder
Service
Service Department
Warranty & Recall Look-Up
Service Specials
Financing
About
Our Dealership
Our Team
Reviews
Customer Survey
Newsletter Sign-Up
Employment
Events
Location & Hours
Contact
Springfield, MO
Search Inventory
Fiche | Parts Diagrams
2025 Kawasaki Motorcycles
Home
›
Parts
›
Parts Finder
Search by :
Part / Desc
VIN
Kawasaki
*Please enter at least 3 characters
SEARCH
Manufacturer
Kawasaki
Motorcycles
2025
Ninja ZX-4RR ABS (ZX400SSFAN)
VIEW WISH LIST
Select a Section
Show/Hide
Accessory(Pillion Seat Cover)
Accessory(Radiator Trim)
Accessory(Seat)
Accessory(Slider)
Accessory(Tank Bag)
Accessory(Tank Pads and Meter Film)
Accessory(USB Output)
Air Cleaner
Brake Pedal/Torque Link
Brake Piping
Cables
Camshaft(s)/Tensioner
Chassis Electrical Equipment
Clutch
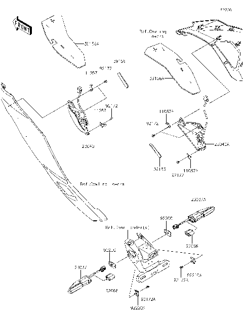
Cowling Lowers(SSFAN/SSFAL)
Cowling(SSFAN/SSFAL)
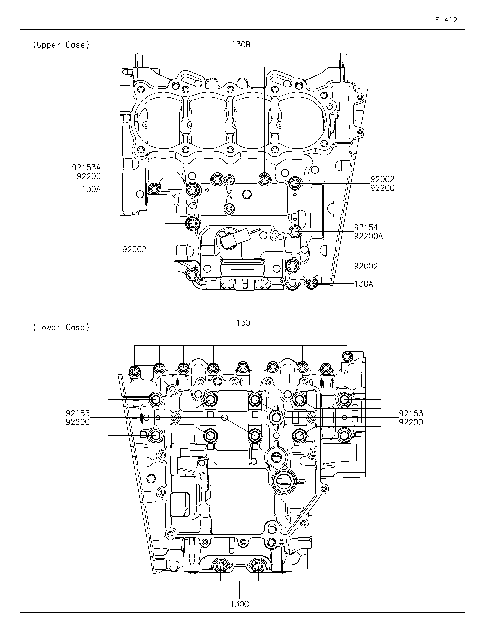
Crankcase
Crankcase Bolt Pattern
Crankshaft
Cylinder Head
Cylinder Head Cover
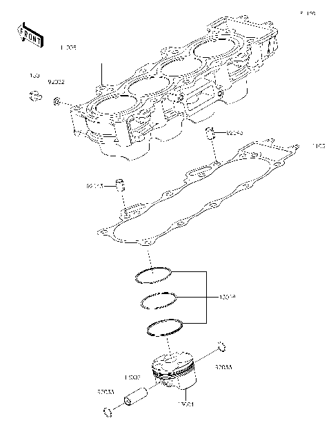
Cylinder/Piston(s)
Decals(Green)(SSFAN/SSFAL)
Decals(Silver)(SSFAN/SSFAL)
Engine Cover(s)
Engine Mount
Footrests
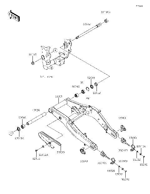
Frame
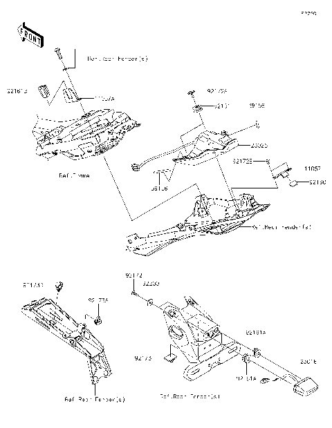
Frame Fittings
Front Brake
Front Fender(s)
Front Fork
Front Master Cylinder
Front Wheel
Fuel Evaporative System
Fuel Injection
Fuel Pump
Fuel Tank
Gear Change Drum/Shift Fork(s)
Gear Change Mechanism
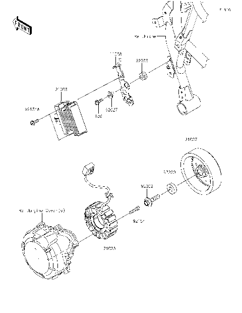
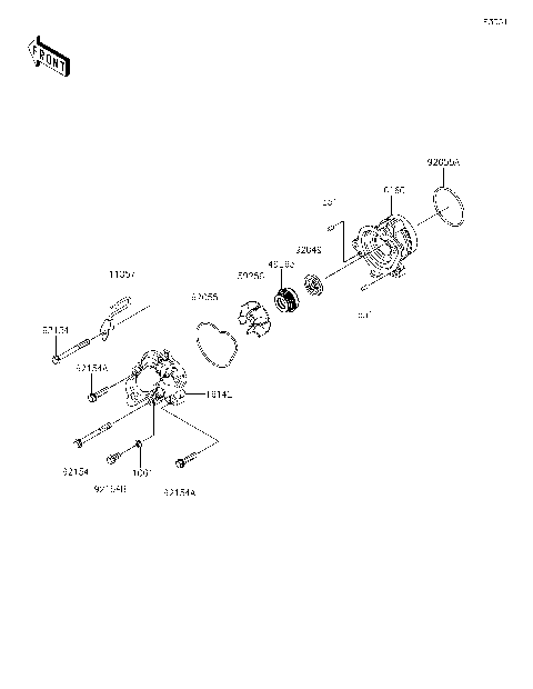
Generator
Handlebar
Headlight(s)
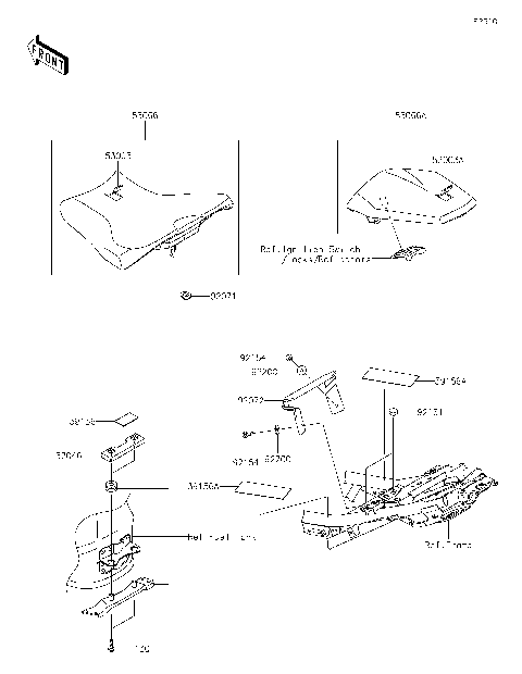
Ignition Switch/Locks/Reflectors
Ignition System
Labels
Meter(s)
Muffler(s)
Oil Pan
Oil Pump/Oil Filter
Owner's Tools
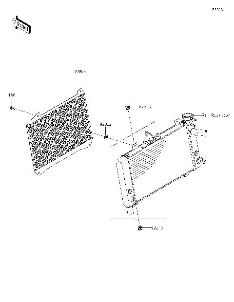
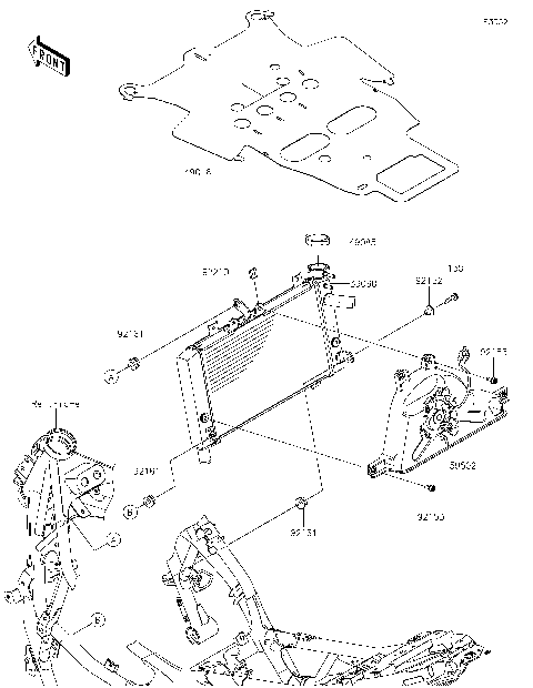
Radiator
Rear Brake
Rear Fender(s)
Rear Master Cylinder
Rear Wheel/Chain
Seat
Side Covers/Chain Cover
Stand(s)
Starter Motor
Suspension/Shock Absorber
Swingarm
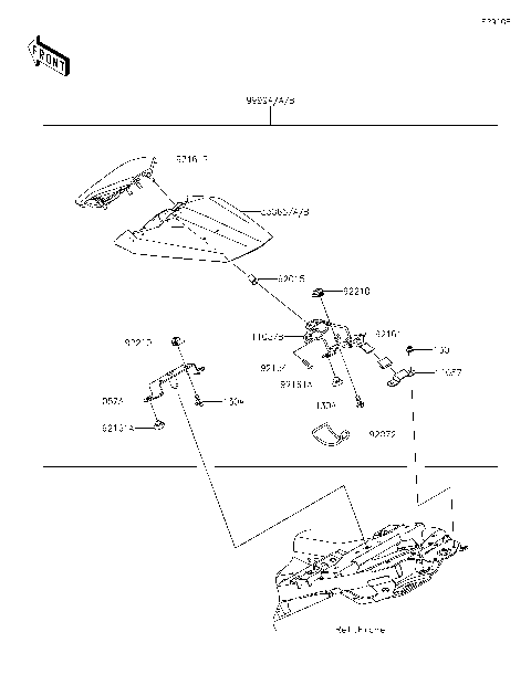
Taillight(s)
Throttle
Tires
Transmission
Turn Signals
Valve(s)
Water Pipe
Water Pump
Accessory(Pillion Seat Cover)
Accessory(Radiator Trim)
Accessory(Seat)
Accessory(Slider)
Accessory(Tank Bag)
Accessory(Tank Pads and Meter Film)
Accessory(USB Output)
Air Cleaner
Brake Pedal/Torque Link
Brake Piping
Cables
Camshaft(s)/Tensioner
Chassis Electrical Equipment
Clutch
Cowling Lowers(SSFAN/SSFAL)
Cowling(SSFAN/SSFAL)
Crankcase
Crankcase Bolt Pattern
Crankshaft
Cylinder Head
Cylinder Head Cover
Cylinder/Piston(s)
Decals(Green)(SSFAN/SSFAL)
Decals(Silver)(SSFAN/SSFAL)
Engine Cover(s)
Engine Mount
Footrests
Frame
Frame Fittings
Front Brake
Front Fender(s)
Front Fork
Front Master Cylinder
Front Wheel
Fuel Evaporative System
Fuel Injection
Fuel Pump
Fuel Tank
Gear Change Drum/Shift Fork(s)
Gear Change Mechanism
Generator
Handlebar
Headlight(s)
Ignition Switch/Locks/Reflectors
Ignition System
Labels
Meter(s)
Muffler(s)
Oil Pan
Oil Pump/Oil Filter
Owner's Tools
Radiator
Rear Brake
Rear Fender(s)
Rear Master Cylinder
Rear Wheel/Chain
Seat
Side Covers/Chain Cover
Stand(s)
Starter Motor
Suspension/Shock Absorber
Swingarm
Taillight(s)
Throttle
Tires
Transmission
Turn Signals
Valve(s)
Water Pipe
Water Pump
VIEW WISH LIST