Springfield, MO
417-603-0677
Toggle navigation
Home
Brands
Manufacturer Models
OEM Promotions
Triumph
Indian
Kawasaki
Inventory
All Inventory In Stock
New Inventory In Stock
Used Inventory
See Honda of the Ozarks Used Inventory
Featured Inventory
Value Your Trade-In
Request a Model
Schedule a Test Ride
Financing
Parts
Parts Department
Parts Finder
Service
Service Department
Warranty & Recall Look-Up
Service Specials
Financing
About
Our Dealership
Our Team
Reviews
Customer Survey
Newsletter Sign-Up
Employment
Events
Location & Hours
Contact
Springfield, MO
Search Inventory
Fiche | Parts Diagrams
2007 Kawasaki Motorcycles
Home
›
Parts
›
Parts Finder
Search by :
Part / Desc
VIN
Kawasaki
*Please enter at least 3 characters
SEARCH
Manufacturer
Kawasaki
Motorcycles
2007
Z1000 (ZR1000B7F)
VIEW WISH LIST
Select a Section
Show/Hide
Air Cleaner
Battery Case
Brake Pedal
Brake Pedal/Torque Link
Cables
Camshaft(s)/Tensioner
Chassis Electrical Equipment
Clutch
Cowling
Cowling Lowers
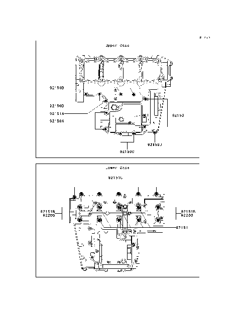
Crankcase
Crankcase Bolt Pattern
Crankshaft
Cylinder Head
Cylinder Head Cover
Cylinder/Piston(s)
Decals(Black)(B7F)
Decals(Black)(Blue)(B7F)
Decals(Orange)(B7F)
Engine Cover(s)
Engine Mount
Fenders
Footrests
Frame
Frame Fittings
Front Brake
Front Fork
Front Hub
Front Master Cylinder
Front Wheel
Fuel Evaporative System(CA)
Fuel Injection
Fuel Pump
Fuel Tank
Gear Change Drum/Shift Fork(s)
Gear Change Mechanism
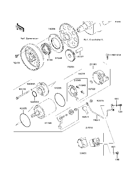
Generator
Handlebar
Headlight(s)
Ignition Switch
Ignition Switch/Locks/Reflectors
Ignition System
Labels
Manual
Meter(s)
Muffler(s)
Oil Pan
Oil Pump
Oil Pump/Oil Filter
Owner's Tools
Radiator
Rear Brake
Rear Hub
Rear Master Cylinder
Rear Suspension
Rear Wheel/Chain
Seat
Shock Absorber(s)
Shock Absorber(s)(B7F/B8F)
Side Covers/Chain Cover(B7F)
Stand(s)
Starter Motor
Suspension
Swingarm
Taillight(s)
Throttle
Tires
Transmission
Turn Signals
Valve(s)
Water Pipe
Air Cleaner
Battery Case
Brake Pedal
Brake Pedal/Torque Link
Cables
Camshaft(s)/Tensioner
Chassis Electrical Equipment
Clutch
Cowling
Cowling Lowers
Crankcase
Crankcase Bolt Pattern
Crankshaft
Cylinder Head
Cylinder Head Cover
Cylinder/Piston(s)
Decals(Black)(B7F)
Decals(Black)(Blue)(B7F)
Decals(Orange)(B7F)
Engine Cover(s)
Engine Mount
Fenders
Footrests
Frame
Frame Fittings
Front Brake
Front Fork
Front Hub
Front Master Cylinder
Front Wheel
Fuel Evaporative System(CA)
Fuel Injection
Fuel Pump
Fuel Tank
Gear Change Drum/Shift Fork(s)
Gear Change Mechanism
Generator
Handlebar
Headlight(s)
Ignition Switch
Ignition Switch/Locks/Reflectors
Ignition System
Labels
Manual
Meter(s)
Muffler(s)
Oil Pan
Oil Pump
Oil Pump/Oil Filter
Owner's Tools
Radiator
Rear Brake
Rear Hub
Rear Master Cylinder
Rear Suspension
Rear Wheel/Chain
Seat
Shock Absorber(s)
Shock Absorber(s)(B7F/B8F)
Side Covers/Chain Cover(B7F)
Stand(s)
Starter Motor
Suspension
Swingarm
Taillight(s)
Throttle
Tires
Transmission
Turn Signals
Valve(s)
Water Pipe
VIEW WISH LIST