Springfield, MO
417-603-0677
Toggle navigation
Home
Brands
Manufacturer Models
OEM Promotions
Triumph
Indian
Kawasaki
Inventory
All Inventory In Stock
New Inventory In Stock
Used Inventory
See Honda of the Ozarks Used Inventory
Featured Inventory
Value Your Trade-In
Request a Model
Schedule a Test Ride
Financing
Parts
Parts Department
Parts Finder
Service
Service Department
Warranty & Recall Look-Up
Service Specials
Financing
About
Our Dealership
Our Team
Reviews
Customer Survey
Newsletter Sign-Up
Employment
Events
Location & Hours
Contact
Springfield, MO
Search Inventory
Fiche | Parts Diagrams
2025 Kawasaki Golf Carts
Home
›
Parts
›
Parts Finder
Search by :
Part / Desc
VIN
Kawasaki
*Please enter at least 3 characters
SEARCH
Manufacturer
Kawasaki
Golf Carts
2025
NAV® 4e LE (KNT009ESFNN)
VIEW WISH LIST
Select a Section
Show/Hide
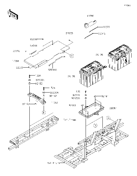
Battery
Brake Pedal/Throttle Lever
Cables
Carrier(s)
Chassis Electrical Equipment-1
Chassis Electrical Equipment-2
Decals
Electric Motor
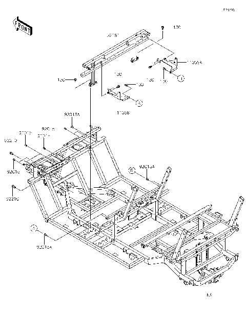
Frame
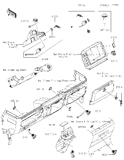
Frame Fittings(Front)
Frame Fittings(Middle)
Frame Fittings(Rear)
Front Fender(s)
Front Hubs/Brakes
Guards/Cab Frame
Headlight(s)
Ignition Switch
Labels
Meter(s)
Other
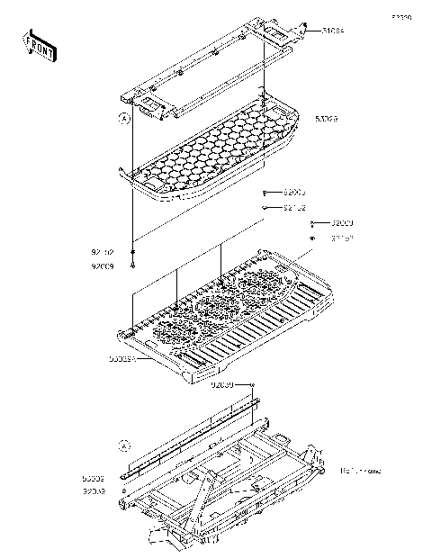
Rear Fender(s)
Rear Hubs/Brakes
Reflectors
Seat
Steering Shaft
Steering Wheel
Sun Top
Suspension/Shock Absorber
Taillight(s)
Wheels/Tires
Battery
Brake Pedal/Throttle Lever
Cables
Carrier(s)
Chassis Electrical Equipment-1
Chassis Electrical Equipment-2
Decals
Electric Motor
Frame
Frame Fittings(Front)
Frame Fittings(Middle)
Frame Fittings(Rear)
Front Fender(s)
Front Hubs/Brakes
Guards/Cab Frame
Headlight(s)
Ignition Switch
Labels
Meter(s)
Other
Rear Fender(s)
Rear Hubs/Brakes
Reflectors
Seat
Steering Shaft
Steering Wheel
Sun Top
Suspension/Shock Absorber
Taillight(s)
Wheels/Tires
VIEW WISH LIST