Springfield, MO
417-603-0677
Toggle navigation
Home
Brands
Manufacturer Models
OEM Promotions
Triumph
Indian
Kawasaki
Inventory
All Inventory In Stock
New Inventory In Stock
Used Inventory
See Honda of the Ozarks Used Inventory
Featured Inventory
Value Your Trade-In
Request a Model
Schedule a Test Ride
Financing
Parts
Parts Department
Parts Finder
Service
Service Department
Warranty & Recall Look-Up
Service Specials
Financing
About
Our Dealership
Our Team
Reviews
Customer Survey
Newsletter Sign-Up
Employment
Events
Location & Hours
Contact
Springfield, MO
Search Inventory
Fiche | Parts Diagrams
1971 Kawasaki
Home
›
Parts
›
Parts Finder
Search by :
Part / Desc
VIN
Kawasaki
*Please enter at least 3 characters
SEARCH
Manufacturer
Kawasaki
Generators
1971
Centurion (G31M-A)
VIEW WISH LIST
Select a Section
Show/Hide
CABLES
CARBURETOR
CLUTCH
CRANKCASE
CRANKSHAFT/PISTON/ROTARY VALVE
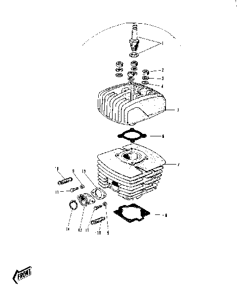
CYLINDER HEAD/CYLINDER
ENGINE COVERS/AIR CLEANER
FENDERS/NUMBER PLATES
FRAME/FRAME FITTINGS CHAIN
FRONT FORK (G31M)
FRONT FORK (G31M-A)
FRONT HUB/BRAKE (G31M)
FRONT HUB/BRAKE (G31M-A)
FUEL TANK/SEAT
GEAR CHANGE MECHANISM
HANDLEBAR (G31M)
HANDLEBAR (G31M-A)
IGNITION
KICKSTARTER MECHANISM
MUFFLER
OWNER TOOLS
REAR HUB/BRAKE
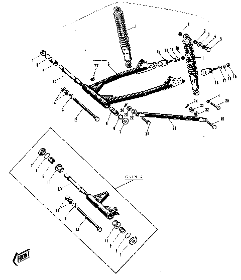
SWING ARM/SHOCK ABSORBERS
TRANSMISSION/CHANGE DRUM
WHEELS/TIRES
CABLES
CARBURETOR
CLUTCH
CRANKCASE
CRANKSHAFT/PISTON/ROTARY VALVE
CYLINDER HEAD/CYLINDER
ENGINE COVERS/AIR CLEANER
FENDERS/NUMBER PLATES
FRAME/FRAME FITTINGS CHAIN
FRONT FORK (G31M)
FRONT FORK (G31M-A)
FRONT HUB/BRAKE (G31M)
FRONT HUB/BRAKE (G31M-A)
FUEL TANK/SEAT
GEAR CHANGE MECHANISM
HANDLEBAR (G31M)
HANDLEBAR (G31M-A)
IGNITION
KICKSTARTER MECHANISM
MUFFLER
OWNER TOOLS
REAR HUB/BRAKE
SWING ARM/SHOCK ABSORBERS
TRANSMISSION/CHANGE DRUM
WHEELS/TIRES
VIEW WISH LIST